Schéma Tlumivka výfuku pro modely:

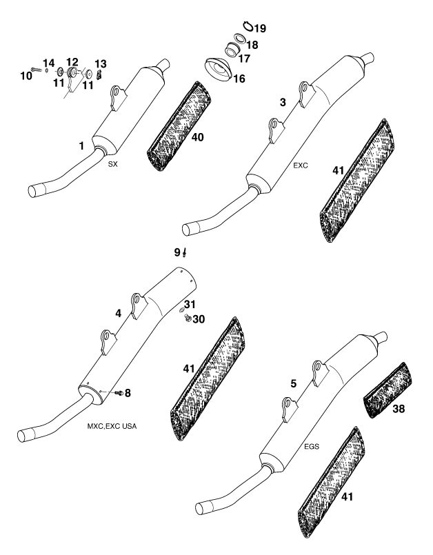
5 54605480300 MAIN SILENCER 250/300 EGS '96
0 Kč
16 54605379549 % SILENCER CAP PLASTIC
0 Kč
17 54605379028 SEAL RING VITON D=28MM
348 Kč
18 54605079047 WASHER D=28 MM
139 Kč
19 0471280150 CIRCLIP DIN0471-28X1,5
31 Kč
38 58005078120 STUFFING YARN 120 GRAM
815 Kč
41 58005078340 STUFFING YARN 340 GRAM
1 807 Kč
Náhled schématu MAIN SILENCER