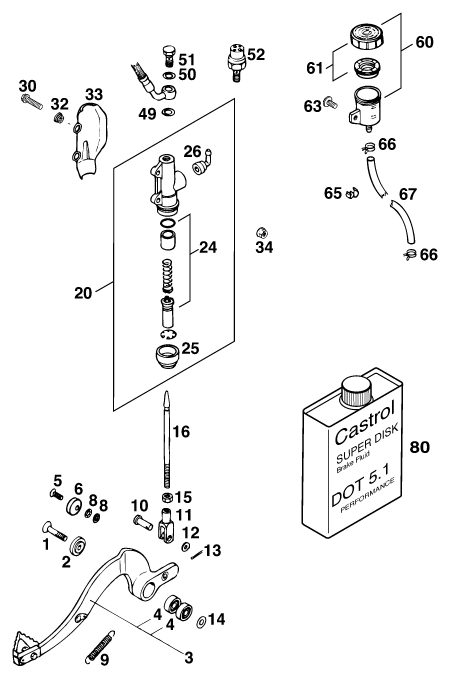
Zadní brzda, příslušenství

1 0991080403 FLAT HEAD SCREW DIN7991-M 8X40
53 Kč
2 56503061300 WASHER FOR BRAKE LEVER
73 Kč
3 50203060544 50203060544
0 Kč
4 0625006087 Grooved ball bearing 608 2RS C
171 Kč
5 0991060163 FLAT HEAD SCR. DIN7991-M 6X16
33 Kč
6 50203063000 BRAKE STOP LEVER
0 Kč
8 0797060003 TOOTH LOCK WASH. DIN6797-A 6,4
24 Kč
9 54503062000 RETURN SPRING FOR BRAKE LEVER
120 Kč
10 58003067000 BOLT FOR FORK 4STR.
196 Kč
11 58003069000 FORK F.BRAKE PEDAL
411 Kč
12 50203028000 WINDOW PANE 8,4X14X1MM
0 Kč
13 0094020203 PIN DIN94 2x20
3 Kč
14 0125080003 washer DIN 125 A -8.4
24 Kč
15 0934080003 Hexagon nut DIN934 M8
27 Kč
16 54503068000 PRESSURE ROD ALU L=120 MM'89
95 Kč
20 54513101044 MAIN BRAKE CYLINDER '89
4 625 Kč
24 54513150000 REPAIR KIT PISTON 13MM
1 364 Kč
25 54513151000 RUBBER SLEEVE
222 Kč
26 54513155000 ANGLE PIECE
222 Kč
30 0015060253 HH COLLAR SCREW M 6X25 WS=8
16 Kč
32 50213161000 COLLAR BUSHING
71 Kč
33 54513038000 BRAKE CYL. PROTECTOR ''BREMBO'
270 Kč
34 56509064000 SELF LOCKING NUT M6
18 Kč
49 42013026000 CU-SEAL RING DIN7603-10X16X1,5
37 Kč
50 42013226000 CU-SEAL RING DIN7603-10X16X1
42 Kč
51 50213025000 HOLLOW SCREW M10X1X19
193 Kč
52 42013121000 BRAKE LIGHT SWITCH
445 Kč
60 54513030044 BRAKE FLUID RESERVOIR '89
578 Kč
61 54513031044 SCREW CAP FOR RESERVOIR
165 Kč
63 0014060103 HH COLLAR SCREW M 6X10 WS=8
16 Kč
65 55011022100 CLAMP D=6/8MM, BLACK
70 Kč
66 58007017000 YDNAC-clamp 10101 (10.4MM)
47 Kč
67 58007016101 HOSE FOR RESERVOIR 6X1,5
273 Kč
80 306054 BRAKE FLUID DOT 4.0
374 Kč
Náhled schématu REAR BRAKE CONTROL