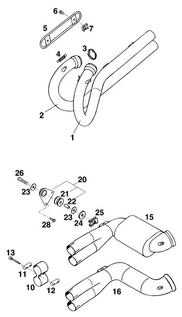
Výfukový systém

1 57505051200 EXHAUST PIPE L/S "KTM *575 L"
0 Kč
1 58305051300 EXHAUST PIPE L/S "KTM *583 L"
0 Kč
2 57505151100 EXHAUST PIPE R/S "KTM 575 R"
0 Kč
2 58305151100 EXHAUST PIPE R/S "KTM 583 R"
0 Kč
3 58305053001 CERAMIC LINE 1 METER
165 Kč
4 54309036000 RETURN SPRING L=38 MM
119 Kč
5 58305050100 HEAT PROTECTOR CHROME WHITE'94
445 Kč
6 0015060123 HH COLLAR SCREW M 6X12 WS=8
37 Kč
7 54603048300 RANGE CHANGE METAL NUT M6 INOX
107 Kč
10 58305058150 CLAMP LC4'95
387 Kč
11 58305058051 GAG CLAMP OUTSIDE INOX
169 Kč
12 58305058052 GAG CLAMP INSIDE INOX
184 Kč
13 0912060404 AH SCREW DIN0912-M 6X40 A2
33 Kč
15 58305075300 PRE SILENCER "KTM *V1" '95
0 Kč
16 58305175200 TUBE-PRE SILENCER '95
5 816 Kč
20 58305065044 % BRACKET-PRE SILENCER CPL. 95
0 Kč
21 54305068100 damp. component silicone grey
162 Kč
22 56505069000 Spacer bushing 8.4X12X16
139 Kč
23 0021080003 WASHER DIN9021-A 8,4
21 Kč
24 51005067000 INSOLATE WASHER 8,5X28X3
62 Kč
25 54603048000 RANGE CHANGE METAL NUT M8
91 Kč
26 0015080353 HH COLLAR SCREW M 8X35 WS=10
70 Kč
28 0015060163 HH COLLAR SCREW M 6X16 WS=8
40 Kč
Náhled schématu EXHAUST SYSTEM